Latest Stories
Briefs Electronics & Computers
Traveling-Wave Wide-Band Microstrip Antennas
Microstrip antennas that can be made to perform well over relatively wide frequency ranges but are mechanically and electrically simpler than prior such antennas have been invented. These antennas...
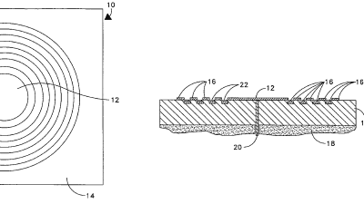
Briefs Sensors/Data Acquisition
Nanosensor Arrays for Detecting Breast-Cancer Compounds
Arrays of nanosensors for detecting biomolecules associated with breast cancer are undergoing development. It has been proposed to construct the arrays as silicon-based large-scale...
Briefs Medical
Aptamer-Based Sensors for Detection of Proteins
Molecular aptamer beacons (MABs) are being investigated for use as rapid-signaling probe compounds for detecting specific proteins of interest (target proteins). In the MAB approach, one exploits...
Briefs Materials
Nanoparticle AlxMoyOz/Al Thermites
Research on the microstructures, chemical compositions, and reactivities of thermites that consist of or contain mixtures of MoO3 and Al particles has led to development of a process for making thermites that...
Briefs Materials
Polymeric “Smart” Skin Materials
"Smart” skin materials based, variously, on polymers, dendrimers, carbon nanotubes, and/or other tailored molecular components are being developed for use as conformal coating surfaces of mechanical structures, including those of aircraft, to impart enhanced functionality to the coated surfaces. As used here,...
Briefs Materials
Innovations Pertaining to Carbon-Based Materials
Some notable innovations in the design and manufacture of carbonbased materials have been made in a continuing program of basic research on carbon- based materials for use in propulsion systems of aircraft and spacecraft. The research has ranged over diverse topics that have included fabrication of...
Briefs Photonics/Optics
Adaptive Optoelectronic Eyes
Aprogram of research has built a technological foundation for further development of systems that could be characterized, variously, as "smart" cameras or adaptive optoelectronic eyes. A system according to this...
Briefs Photonics/Optics
Continuous-Wave Atom Laser
Progress has been made toward realization of a continuous-wave, phase-andamplitude- stable atom laser based on magnetic guiding, magnetic compression, and continuous distributed evaporative cooling of a sparse cloud...
Briefs Electronics & Computers
A Study of Two Ferrocene-Based Molecular Electronic Devices
Acomputational-simulation study of two ferrocene-based molecular electronic devices was performed as part of a continuing effort to develop a capability for ab initio design of...
Briefs Electronics & Computers
Real-Time Simulation and Semiautomated Design of Complex ICs
A project called “System on a Chip Real-Time Emulation” (SOCRE) was undertaken to develop and demonstrate a methodology of simulation of operation and semiautomated design of...
Briefs Electronics & Computers
Adaptive Quantum Design of Semiconductor Devices
The term "adaptive quantum design" denotes a methodology for systematically seeking robust, manufacturable designs of semiconductor devices — especially semiconductor optoelectronic devices...
Briefs Information Technology
Multi-Scale Model of Failure in a Composite Material
An adaptive concurrent multilevel computational model of failure in a heterogeneous-material structure has been developed. As used here, "concurrent" is a term of art characterizing a class of structural/material models that (1) incorporate submodels representing material substructures at...
Briefs Information Technology
Application of CFD to a Slender-Bodied, Finned Projectile
In an application of computational fluid dynamics (CFD), flow fields about a slender-bodied finned projectile and the resulting aerodynamic forces and moments on the projectile were...
Briefs Mechanical & Fluid Systems
Simulations of Stall and Stall Control in Turbocompressors
Anumerical-simulation study of stall and stall control in radial and axial compressor stages of gas turbine engines has been performed. This and other similar studies are needed because...
Briefs Information Technology
Automatic Abstraction of Information From Digitized Images
A research effort now underway addresses fundamental mathematical issues involved in a methodology of creating flexible machine vision systems that would be able to modify their...
Briefs Information Technology
Two-Processor Autopilot System for a UAV
A two-processor autopilot control system for an unmanned aerial vehicle (UAV) has been proposed and partly developed. Relative to prior such systems, this would be a lightweight, inexpensive autopilot...
Briefs Test & Measurement
Thermal Design and Analysis of a Rocket-Engine TAN Injector
A subscale thrust-augmented-nozzle (TAN) rocket engine was designed, built, and hot-fire tested to demonstrate the validity of the TAN concept. As described in more detail in the...
Briefs Mechanical & Fluid Systems
Thrust-Augmented Nozzles for Rocket Engines
The thrust-augmented nozzle (TAN) has been invented as a means of obtaining high performance from a rocket engine both during liftoff at sea-level atmospheric pressure and later during flight under...
Briefs Materials
Measuring Glucose Using pH-Sensitive Hydrogels
Sensors that exploit pH-sensitive hydrogels for measuring concentrations of glucose in aqueous solutions are undergoing development. Because the underlying chemical and physical principles are also...
Briefs Materials
Plasma-Spray Coating as an Alternative to Chromium Plating
Plasma-spray application of coating materials that include tungsten carbide has been investigated as an alternative to electroplating of hard chromium onto internal metal surfaces that...
Briefs Materials
Accelerated Evaluation of Properties of Polyphase Alloys
A methodology for accelerated evaluation of mechanical properties of polyphase alloys is based on digital representations of the alloys. For a given alloy material system, this...
Briefs Photonics/Optics
Detecting Change in 3D by Use of an Evidence Grid
Astudy has been undertaken to evaluate a method of detecting change in a three-dimensional (3D) terrain map generated from data acquired by an imaging ladar system carried aboard a moving...
Briefs Photonics/Optics
Fast Liquid-Crystal-on-Silicon Spatial Light Modulators
Stressed-liquid-crystal (SLC) light-modulating devices suitable for use as liquidcrystal- on-silicon (LCOS) spatial light modulators (SLMs) that could operate in nearand mid-infrared...
Briefs Electronics & Computers
Compensating for Parasitic Effects in Low-Pass Filters
Techniques to compensate for the effects of parasitic inductances and capacitances have been developed as part of an effort to improve the performances of low-pass filters in electronic...
Briefs Electronics & Computers
Assembly of Nanowire-Based Computing Systems
A program to develop ultra-dense integrated digital data-processing systems and circuits based on nanowires involves utilization of hybrid top-down and bottom-up assembly techniques to implement designs representative of a highly reliable defect- and fault-tolerant architecture. This program has included...
Briefs Electronics & Computers
Microstrip Patch Antennas Containing Multi-PBG Structures
Microstrip patch antennas of a proposed type would contain photonic- bandgap (PBG) structures characterized by multiple bandgaps. In a given antenna, the PBG structure(s) could be one or...
Briefs Electronics & Computers
Accomplishments of the Microwave Power Research Initiative
Research performed under the auspices of the Microwave Power Research Initiative (MiPRI) between May 1, 2005 and April 30, 2006 has been reported. [The MiPRI is a congressionally mandated Air Force program to advance the science of high-power electron- beam-driven microwave and millimeter-...
Briefs Electronics & Computers
Microwave Sources Utilizing Linear Induction Accelerators
Progress has been reported in a continuing effort to develop pulsed, high-power microwave signal sources based on (1) oscillators in the form of relativistic magnetrons containing...
Briefs Photonics/Optics
Heterodyne RF/Optical Links Utilizing Integrated Photonics
A program of research and development has been directed toward the goals of demonstrating (1) ultra-low-noise communication links in which information is conveyed by phase-modulated...
Top Stories
NewsRF & Microwave Electronics
Microvision Aquires Luminar, Plans Relationship Restoration, Multi-industry Push
INSIDERAerospace
A Next Generation Helmet System for Navy Pilots
INSIDERDesign
New Raytheon and Lockheed Martin Agreements Expand Missile Defense Production
INSIDERMaterials
How Airbus is Using w-DED to 3D Print Larger Titanium Airplane Parts
NewsPower
Ford Announces 48-Volt Architecture for Future Electric Truck
ArticlesAR/AI
Webcasts
Aerospace
Cooling a New Generation of Aerospace and Defense Embedded...
Automotive
Battery Abuse Testing: Pushing to Failure
Transportation
A FREE Two-Day Event Dedicated to Connected Mobility
Unmanned Systems
Quiet, Please: NVH Improvement Opportunities in the Early Design Cycle
Transportation
Advantages of Smart Power Distribution Unit Design for Automotive &...
Energy
Sesame Solar's Nanogrid Tech Promises Major Gains in Drone Endurance



