Automotive-Grade Magnetic Position Sensors

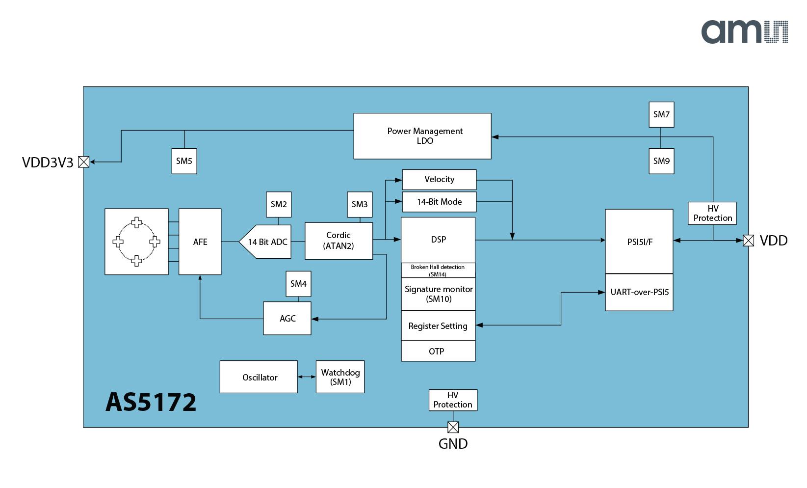
ams’ (Premstaetten, Austria) AS5172A/B magnetic position sensors feature a two-wire PSI5 interface for fast and secure transmission of their precise rotary position measurements. The new AS5172A and AS5172B system-on-chip (SoC) devices are 0° to 360° contactless rotary magnetic position sensors that provide absolute angle measurements in high 14-bit resolution. The sensors have been developed as SEooC (safety element out of context) devices according to automotive safety standard ISO26262 and feature extensive on-chip self-diagnostic systems. The company claims this makes the AS5172A/B suitable for safety-critical automotive applications, enabling a vehicle system to meet the highest ASIL safety level requirements. In addition, the PSI5 interface in the AS5172A/B parts conforms to the latest standards, as set by the PSI5 specification versions 1.3 and 2.1. The AEC-Q100 qualified devices support many automotive remote position sensing applications including brake and gas pedal position sensing, throttle valve and tumble flaps, steering angle sensors, chassis ride height sensors, exhaust gas recirculation (EGR) valves and fuel-level measurement systems.
Top Stories
INSIDERDefense
F-35 Proves Nuke Drop Performance in Stockpile Flight Testing
INSIDERMaterials
Using Ultrabright X-Rays to Test Materials for Ultrafast Aircraft
INSIDERManufacturing & Prototyping
Stevens Researchers Test Morkovin's Hypothesis for Major Hypersonic Flight...
INSIDERManufacturing & Prototyping
New 3D-Printable Nanocomposite Prevents Overheating in Military Electronics
INSIDERRF & Microwave Electronics
L3Harris Starts Low Rate Production Of New F-16 Viper Shield
INSIDERRF & Microwave Electronics
Webcasts
Energy
SAE Automotive Engineering Podcast: Additive Manufacturing
Manufacturing & Prototyping
A New Approach to Manufacturing Machine Connectivity for the Air Force
Automotive
Optimizing Production Processes with the Virtual Twin
Power
EV and Battery Thermal Management Strategies
Energy
How Packet Digital Is Scaling Domestic Drone Battery Manufacturing
Materials
Advancements in Zinc Die Casting Technology & Alloys for Next-Generation...



